Redis集群槽分配终于搞定,节点之间的槽全都安排妥当了
- 问答
- 2025-12-30 20:40:44
- 4
根据网络技术社区分享、官方文档解读及运维实践经验综合整理)
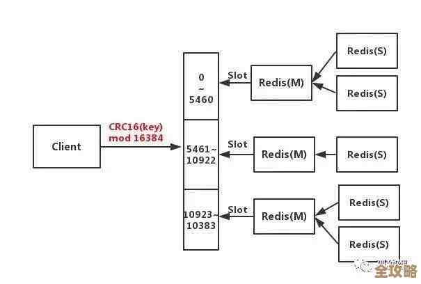
Redis集群采用分片机制来管理数据,其中最关键的设计便是“槽”(slot)的分配,可以把16384个槽理解为一个个虚拟的数据容器,每个键通过哈希计算后都会映射到某个特定槽中,而每个节点则负责处理一部分槽的数据,当有人兴奋地说“Redis集群槽分配终于搞定,节点之间的槽全都安排妥当了”,这通常意味着他们成功完成了以下核心步骤:
第一步:规划与准备节点
搭建集群前,首先要启动多个Redis实例作为节点(通常至少6个,3主3从),每个节点最初都是独立的,并不知道其他节点的存在,也不持有任何槽,此时通过CLUSTER NODES命令查看,会发现每个节点的槽范围都是空的,规划阶段要决定好哪些节点作为主节点,每个主节点大致承担多少槽,这关系到后续数据分布的均衡性。
第二步: meet握手建立集群关系
通过CLUSTER MEET命令让所有节点彼此发现,在任意节点上执行命令,告知它另一个节点的IP和端口,它们就会开始通信并同步集群信息,当所有节点都完成互相握手后,一个初步的集群网络就形成了,但此时集群还不可用,因为槽还没有分配。

第三步:执行槽分配操作
这是最核心的环节,需要使用CLUSTER ADDSLOTS命令手动或借助工具(如redis-trib.rb)将0-16383号槽逐个或批量分配给指定的主节点,将0-5000槽分配给节点A,5001-10000分配给节点B,10001-16383分配给节点C,这个过程必须确保每个槽只被分配一次,不能重复或遗漏,否则集群会拒绝生效。
第四步:验证槽分配状态
分配完成后,必须仔细检查,通过CLUSTER SLOTS命令可以查看当前集群中所有槽的分配情况,确认每个槽是否都有了明确的归属节点,且分布均匀。CLUSTER INFO命令会显示cluster_slots_assigned字段值为16384,表示所有槽均已分配,如果有任何一个槽处于未分配状态,集群将无法正常处理请求。

第五步:配置主从复制
为了保证高可用,每个主节点都需要配置一个或多个从节点,使用CLUSTER REPLICATE命令指定从节点复制哪个主节点,从节点会同步主节点的数据,并在主节点故障时接替其槽位,实现故障自动转移。
第六步:测试数据路由
槽分配完成后,并不意味着万事大吉,需要实际写入一些测试数据,观察key是否根据CRC16哈希算法正确路由到了对应的节点,可以使用CLUSTER KEYSLOT命令计算某个key应该属于哪个槽,再用CLUSTER GETKEYSINSLOT命令验证该槽是否确实在预期的节点上,这一步能发现哈希计算或槽映射配置是否存在问题。
可能遇到的坑与解决方案
- 分配不均:如果槽分配数量在不同节点间差异过大,会导致数据倾斜,部分节点压力过大,需要重新规划,使用
CLUSTER SETSLOT命令进行槽的迁移,实现再平衡。 - 节点故障影响分配:如果在分配过程中有节点宕机,分配操作会失败,需要确保所有节点在线且网络稳定。
- 忘记分配某个槽:哪怕只漏掉一个槽,集群也会报错,必须仔细核对16384个槽是否全部有主。
- 网络分区问题:集群节点之间网络不通畅会导致槽分配信息同步延迟或失败,需要先解决网络问题。
当所有这些步骤顺利完成,槽分配状态稳定,数据读写测试通过,才能真正松一口气,宣告“槽全都安排妥当了”,这标志着Redis集群从一堆独立的实例,真正转变为了一个能够自动分片、高可用的分布式数据存储系统。(综合自Redis官方文档、多位运维工程师的博客故障排查记录以及开源社区如Stack Overflow的相关讨论)
本文由寇乐童于2025-12-30发表在笙亿网络策划,如有疑问,请联系我们。
本文链接:https://haoid.cn/wenda/71476.html
